
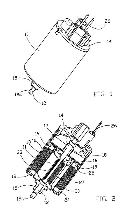
Un motor de corriente continua sin escobillas, que puede conectarse a una bomba de combustible, que comprende una carcasa , un estatory un rotor dentro de la carcasa , bobinados en el estator , sensores para detectar la posición del rotor con respecto al estator y circuitería electrónica para interrumpir la corriente de los bobinados como respuesta a las salidas de los sensores para hacer que el rotor gire con respecto al estator , estando los sensores y al menos una parte de la circuitería electrónica encapsulados en un material eléctricamente aislante y resistente a combustible en un recipiente dentro de la carcasa, en el que recipiente tiene un manguito interno a través del cual puede fluir el combustible desde la bomba de combustible, caracterizado porque el árbol pasa a través del recipiente